CHL不锈钢多级离心泵主要用于家庭型中央空调循环及工业上液体的传输。如脱矿物质水、软水、净化系统、轻油等的循环和增压。
1
)小型中央空调循环
2
)冷却系统
3
)工业清洗
4
)水处理(水的净化)
5
)水产养殖
6
)施肥/计量系统
7
)环境应用
稀薄、干净、不凝、不爆炸、不含固体颗粒或纤维的液体。
液体温度: 常温型-15℃至+70℃
热水型CHL型不锈钢多级泵+70℃至+110℃
_环境温度:+40℃
_运作压力:10Bar
_进口压力受_运作压力限制
介质酸碱性:PH4~9
|
序号(NO) |
多级泵名称(Name) |
材料(Material) |
|
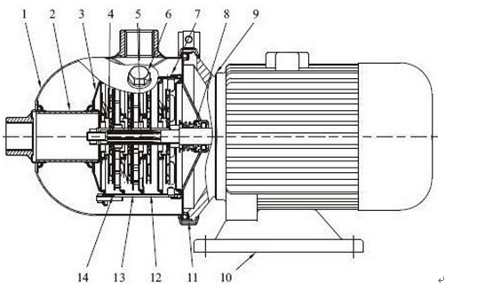
1 |
进出水段(Inlet and outlet section) |
不锈钢(Stainless steel) |
|
2 |
连接管(Connection pipe) |
不锈钢(Stainless steel) |
|
3 |
压板(Clamp plate) |
不锈钢(Stainless steel) |
|
4 |
叶轮(Impeller) |
不锈钢(Stainless steel) |
|
5 |
轴(Shaft) |
不锈钢(Stainless steel) |
|
6 |
堵头(Gag) |
不锈钢(Stainless steel) |
|
7 |
出水导叶(Water-out guide vane) |
不锈钢(Stainless steel) |
|
8 |
机械密封(Mechanical seal) |
|
|
9 |
电机端盖(Motor end cover) |
铝合金(Aluminunm alloy) |
|
10 |
底座(Base frame) |
铸铁(Cast iron) |
|
11 |
快速接头(Quick joint) |
不锈钢(Stainless steel) |
|
12 |
导叶(Guide vane) |
不锈钢(Stainless steel) |
|
13 |
支持导叶(Support guide vane) |
不锈钢(Stainless steel) |
|
14 |
导流器(Induccr) |
不锈钢(Stainless steel) |
|
型号 |
扬程(m) |
流量(m3/h) |
电机功率(KW) |
转速(r/min) |
|
CHL2-20 |
14 |
2 |
0.37 |
2900 |
|
CHL2-30 |
21 |
2 |
0.55 |
2900 |
|
CHL2-40 |
28 |
2 |
0.55 |
2900 |
|
CHL2-50 |
35 |
2 |
0.55 |
2900 |
|
CHL2-60 |
42 |
2 |
0.75 |
2900 |
|
CHL4-20 |
15 |
4 |
0.55 |
2900 |
|
CHL4-30 |
22 |
4 |
0.75 |
2900 |
|
CHL4-40 |
30 |
4 |
0.75 |
2900 |
|
CHL8-10 |
8.5 |
8 |
0.75 |
2900 |
|
CHL8-20 |
17 |
8 |
0.75 |
2900 |
|
CHL8-30 |
25.5 |
8 |
1.1 |
2900 |
|
CHL8-40 |
34 |
8 |
1.5 |
2900 |
|
CHL8-50 |
42.5 |
8 |
2.2 |
2900 |
|
CHL12-10 |
9.5 |
12 |
0.75 |
2900 |
|
CHL12-20 |
19.5 |
12 |
1.2 |
2900 |
|
CHL12-30 |
29.5 |
12 |
1.8 |
2900 |
|
CHL12-40 |
39.5 |
12 |
2.4 |
2900 |
|
CHL12-50 |
50 |
12 |
3 |
2900 |
|
CHL16-10 |
10 |
16 |
1.1 |
2900 |
|
CHL16-20 |
21 |
16 |
2.2 |
2900 |
|
CHL16-30 |
32 |
16 |
3 |
2900 |
|
CHL20-10 |
9.5 |
20 |
1.1 |
2900 |
|
CHL20-20 |
21 |
20 |
2.2 |
2900 |
|
CHL20-30 |
33 |
20 |
4 |
2900 |
|
CHLF(T)2-20 |
14 |
2 |
0.37 |
2900 |
|
CHLF(T)2-30 |
21 |
2 |
0.55 |
2900 |
|
CHLF(T)2-40 |
28 |
2 |
0.55 |
2900 |
|
CHLF(T)2-50 |
35 |
2 |
0.55 |
2900 |
|
CHLF(T)2-60 |
42 |
2 |
0.75 |
2900 |
|
CHLF(T)4-20 |
15 |
4 |
0.55 |
2900 |
|
CHLF(T)4-30 |
22 |
4 |
0.55 |
2900 |
|
CHLF(T)4-40 |
30 |
4 |
0.75 |
2900 |
|
CHLF(T)4-50 |
38 |
4 |
1.1 |
2900 |
|
CHLF(T)4-60 |
45 |
4 |
1.1 |
2900 |
|
CHLF(T)8-10 |
8.5 |
8 |
0.75 |
2900 |
|
CHLF(T)8-20 |
17 |
8 |
0.75 |
2900 |
|
CHLF(T)8-30 |
25.5 |
8 |
1.1 |
2900 |
|
CHLF(T)8-40 |
34 |
8 |
1.5 |
2900 |
|
CHLF(T)8-50 |
42.5 |
8 |
2.2 |
2900 |
|
CHLF(T)12-10 |
9.5 |
12 |
0.75 |
2900 |
|
CHLF(T)12-20 |
19.5 |
12 |
1.2 |
2900 |
|
CHLF(T)12-30 |
29.5 |
12 |
1.8 |
2900 |
|
CHLF(T)12-40 |
39.5 |
12 |
2.4 |
2900 |
|
CHLF(T)12-50 |
50 |
12 |
3 |
2900 |
|
CHLF(T)16-10 |
10 |
16 |
1.1 |
2900 |
|
CHLF(T)16-20 |
21 |
16 |
2.2 |
2900 |
|
CHLF(T)16-30 |
32 |
16 |
3 |
2900 |
|
CHLF(T)16-40 |
43 |
16 |
4 |
2900 |
|
CHLF(T)20-10 |
9.5 |
20 |
1.1 |
2900 |
|
CHLF(T)20-20 |
21 |
20 |
2.2 |
2900 |
|
CHLF(T)20-30 |
33 |
20 |
4 |
2900 |
|
CHLF(T)20-40 |
44.5 |
20 |
4.4 |
2900 |
1
、CHL型不锈钢多级泵进水管路_高度密封,不能漏水、漏气。
2
、禁止CHL型不锈钢多级泵在汽蚀状态下长期运行。
3
、禁止CHL型不锈钢多级泵在大流量运行时,电机_电流长期运行。
4
、定时检査CHL型不锈钢多级泵运行中电机电流值,尽量使泵在设计工况范围内运行;
5
、CHL型不锈钢多级泵在运行过程中应有专人看管,以免发生意外。
6
、CHL型不锈钢多级泵每运行500小时应对轴承迸行加油。
7
、CHL型不锈钢多级泵迸行长期运行后,由于机械磨损,使机组噪声及振动增大时,应停车检査,必要时可更換易损零件及轴承,机组大修期一般为一年。
CHL
型不锈钢多级泵机械密封维护
1
、CHL型不锈钢多级泵机械密封润滑应清洁无固体颗粒。
2
、严禁机械密封在干磨惰况下工作。
3
、起动前应盘动泵(电机)几圈,以免突然起动造成密封环断裂损坏。
订货请尽量提供:
1. 型号2.口径3.扬程(m)4.流量5.电机功率(KW)6.转速(R/min)7.材质8.电压(V)

冀公网安备11010802032164号
